李亚鹏持股公司遭强制执行,已被限制高消费!其妻子称为缩减开支搬家到普通小区 ...

来自: 每日经济新闻 收藏 邀请

每经编辑|段炼    

李亚鹏持股公司又遭强执!

5月27日消息,天眼查显示,丽江雪山投资有限责任公司新增3条被执行人信息,被执行总金额约244万元,执行法院均为丽江市古城区人民法院。

kw2nrMk65sc1r3Zib8icIibPAgcUkn3MmkfoAUywmkFf3d09gEf9ntWjdIAGe7aiceicArVpUXEX42Sm1Z5YGGcWwbA.png

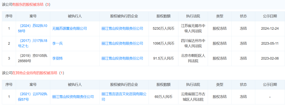
丽江雪山投资有限责任公司成立于2008年11月,法定代表人为李国栋,注册资本约2.6亿人民币,由阳光壹佰置业集团有限公司、李亚鹏等共同持股,其中,李亚鹏持股约27.8%。

风险信息显示,上述公司已被限制高消费,并存在多条股权冻结信息,还曾因该拖欠税款而被列入欠税公告名单。

 

kw2nrMk65sc1r3Zib8icIibPAgcUkn3MmkfEOdQYmoeTOEQ0sWz0YwBkzROuicFkfQXNJoNgabAPnCQwZjOstH3CZQ.png

kw2nrMk65sc1r3Zib8icIibPAgcUkn3Mmkfw2LGQzicsTuCe4YclY0icM9DBicM9oqjykpceNIHSERpIjibDeicVoBLAhw.png

 

李亚鹏目前担任两家企业的法定代表人,和6家公司的股东(一家已注销)。

kw2nrMk65sc1r3Zib8icIibPAgcUkn3MmkfDDNNCibgq5HWBl0VvbvqUh60ia566cwdOJicYTfB2ialkdPbbWviaPIrNoA.png

除丽江雪山投资有限责任公司外,李亚鹏还有多条股权冻结等周边风险信息。李亚鹏已于2023年10月被北京市朝阳区人民法院限制高消费

kw2nrMk65sc1r3Zib8icIibPAgcUkn3MmkfAsj7KoeHwYkB5IEA0anGUoLWhgzSaYhUZQ6t7HzibDkELe8SMZGLHkA.png

两周前,李亚鹏妻子称为缩减开支搬家至普通小区,引发关注。

据津云新闻,5月13日,李亚鹏妻子海哈金喜发视频称,因要缩减开支,所以要搬家换一套小一点的房子住。海哈金喜透露,因李亚鹏在外出差,看房搬家的重任交在她身上。她觉得房子大小不重要,温馨最重要。

CFF20LXzkOzibLD0f2wrkYXe80ic2ic8OUuxt1g10wYuk2Wz6kkJZ8ErULykZcEAvRK9IInGLClAz4bGLZp2QVzvg.jpg

图片来源:李亚鹏微博(资料图)

2020年末,49岁的李亚鹏公开与比自己小19岁的女友海哈金喜在一起的恋情。2022年3月14日,李亚鹏与现任妻子海哈金喜的孩子出生。

据悉,李亚鹏早年出道,出演《笑傲江湖》《射雕英雄传》等多部金庸武侠剧,赢得了无数观众的喜爱。他将目光投向更为广阔的商业领域,赚得数亿身家,但后来多次投资失败。

去年末,李亚鹏宣布卖酒,频繁在自己的视频账号上为一款名为“拎壶冲”的白酒“打Call”。

kw2nrMk65sc1r3Zib8icIibPAgcUkn3Mmkfv06eVx8Iy9e5mz8KgMUl3ptzonKn5L6BVwciaU9xDQkFptY93mXUYnw.jpg

图:抖音账号“李亚鹏”视频截图

拎壶冲由贵州酱酒集团出品,3款产品售价主要在398~1298元。但从当时直播数据看,多场直播销量销量为0~50件,销售额仅5000~7500元。另据荆楚网,李亚鹏账号1~20秒视频报价为3.8万,21~60秒视频报价为5.1万,60秒以上视频报价为7万

去年李亚鹏还曾被曝拖欠员工工资,李亚鹏随后发布道歉视频。

kw2nrMk65sc1r3Zib8icIibPAgcUkn3Mmkfr3H4Xyu5gD7U929WibRTgac6tFBHiay6NDk1tFlJqoUfQlQdvIsWK9EQ.png

去年2月,李亚鹏曾在直播中哭诉自己还了十多年的债,还连续吃了一个星期的外卖。但不少网友评论表示,“还能吃外卖的算穷吗?”“他以为外卖便宜吗?”还有人评论称,“他不是真穷,是被法律限制花钱”。

编辑|段炼 杜恒峰 杜波

校对|程鹏

CFF20LXzkOyYmal29zn37N5Bg2NQ4tyN4ylvMFyM3VmF4x90Uj4cDmoEphibia4RN55ibIXmqU1Od9w2Q5nhA08lA.png

每日经济新闻综合自央广网、红星新闻


鲜花

握手

雷人

路过

鸡蛋
相关推荐
热门排行
← 返回股票

在线客服(服务时间 9:00~18:00)

QQ:30376048757
公司地址:广州市黄埔区康富路32号101房
客服电话:13326565461
电子邮箱:30376048757@qq.com

Powered by 广州丁冬科技有限公司 © 2025 aiwsw.com Inc.( 粤ICP备2024347580号-3 )