专业金融数据,下一代智能终端
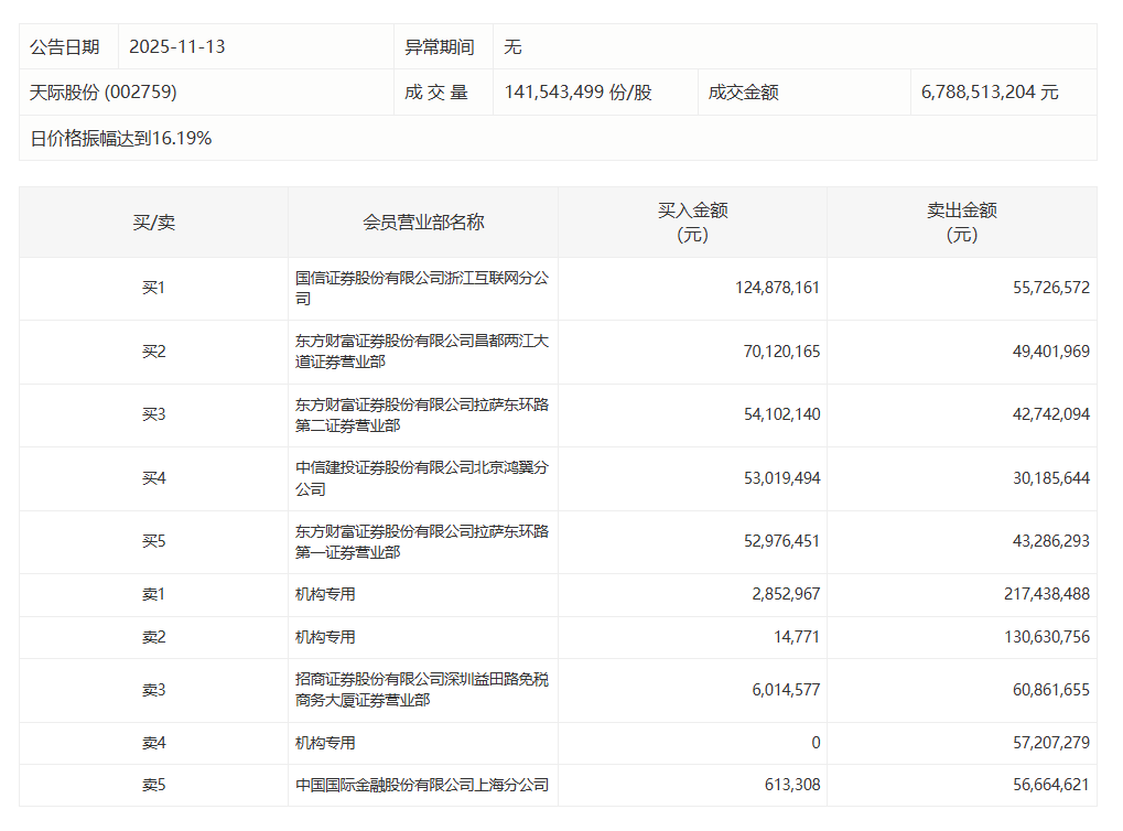
天际股份今日涨3.66%,成交额67.89亿元,换手率28.26%,盘后龙虎榜数据显示,有3家机构专用席位净卖出4.02亿元。
(文章来源:第一财经)
1 小时前
2 小时前
3 小时前
每经记者|可杨每经编辑|陈旭 在大模型快速迭代、算力需求指数级攀升的背景下,算
每经编辑|黄胜 央视新闻消息,法国总统府爱丽舍宫一名工作人员涉嫌盗卖国宴等活动
每经编辑|黄胜 12月21日晚间,观想科技(301213)发布公告称,公司正在筹划发行股
每经编辑|黄胜 央视新闻消息,当地时间12月21日,以色列国防军总参谋长扎米尔在特
每经记者|林姿辰陈星每经编辑|陈俊杰 2025年的冬至(12月21日),上百万网友等待
每经编辑|金冥羽 据澎湃新闻,特朗普政府正在解雇一批由前总统拜登任命的职业外交
每经编辑|黄胜 新华社12月21日消息,据法国商业调频电视台报道,法国总统马克龙21
每经记者|黄婉银每经实习记者 李旭馗每经编辑|袁东 |2025年12月22日 星期一|NO
每经编辑|黄胜 央视新闻消息,当地时间12月21日,法国总统府表示,将于“未来数日
每经编辑|黄胜 12月21日晚间,*ST东易(002713.SZ)公告,当日,公司收到北京一中