在丁冬财经看资讯行情,选丁冬财经证券一站式开户交易>>
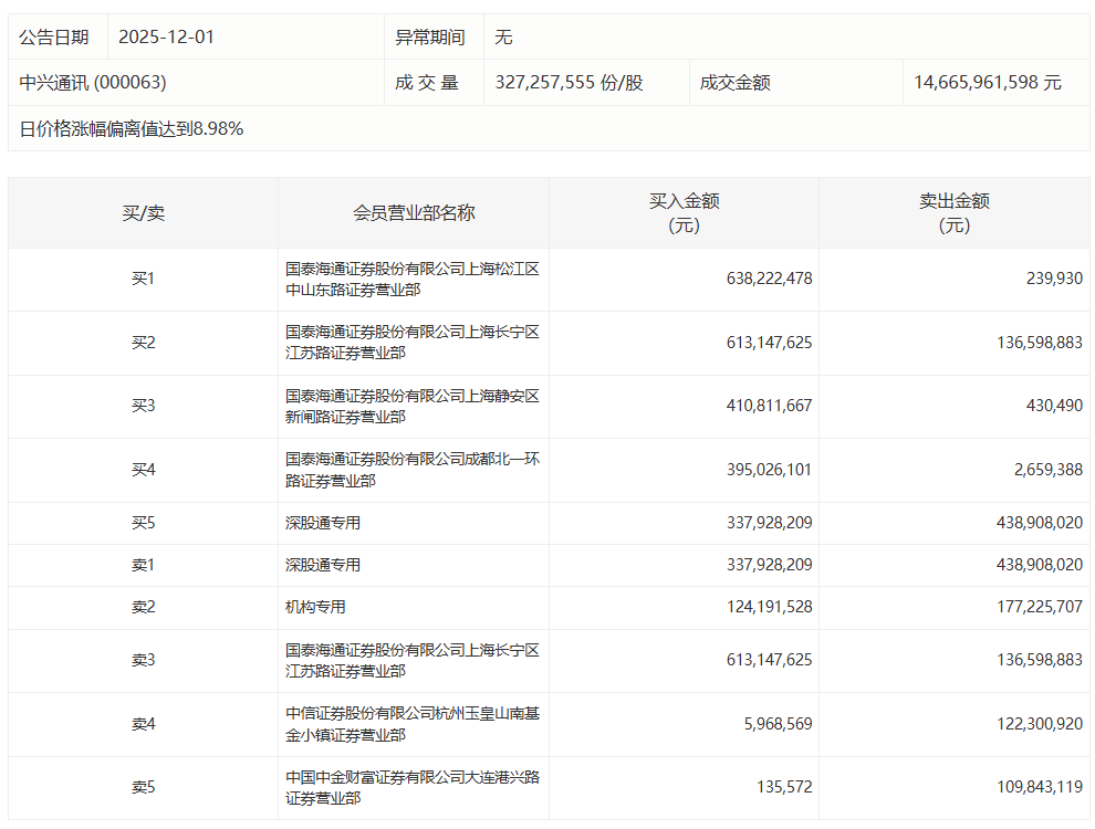
中兴通讯今日涨停,成交额146.66亿元,换手率8.13%。盘后龙虎榜数据显示,国泰海通上海松江区中山东路证券营业部净买入6.38亿元,国泰海通上海长宁区江苏路证券营业部净买入4.77亿元,深股通专用席位买入3.38亿元并卖出4.39亿元,有1家机构专用席位净卖出5303.42万元。
(文章来源:第一财经)
半小时前
1 小时前
中国外交部发言人郭嘉昆17日主持例行记者会。 有记者提问:据报道,泰国军队在
12月17日,市场集体反弹,沪指涨超1%,创业板指涨超3%。截至收盘,沪指涨1.19%,
12月17日,多家上市公司发布投资者关系活动记录表公告,披露各自与机构之间的业务
今天的市场,太惊喜了!上午虽然指数上涨,但依旧有4000多只个股下跌。而到了下午
国家发展改革委等部门发布《煤炭清洁高效利用重点领域标杆水平和基准水平(2025年
12月17日消息,早盘三大股指震荡走强,创指涨超1%。板块方面,大消费板块活跃,零售
每经编辑|陈柯名 据新华社,瑞典气象学家说,该国首都斯德哥尔摩在12月上半月仅记
每经编辑|张锦河 据新华社,日本宇宙航空研究开发机构(JAXA)17日原定发射一枚搭
12月17日,碳酸锂期货主力合约拉涨。截至11:50,盘中最高涨超8.8%,最高报10.78万
一张图看商品支撑阻力:金银油气+铂钯铜+农产品期货,更新于2025年12月17日周三14:40